Introdução ao produto
Os trilhos pesados de GB têm um peso teórico maior ou igual a 50 kg por metro como especificação básica e são feitos de aço carbono de alta qualidade ou aço de baixa liga. Durante o processo de produção, eles devem passar por uma fabricação de aço conversor, refinando fora do forno, fundição contínua e outros processos de fundição para garantir que a pureza do tarugo de aço atenda ao padrão; Em seguida, eles são enrolados e formados por moinhos de rolagem a quente de alta precisão, e as tolerâncias dimensionais da altura do trilho, largura do fundo, largura da cabeça etc. são estritamente controladas dentro da faixa padrão nacional. Os produtos acabados devem passar em vários testes, como detecção de falhas ultrassônicas e teste de tração. Eles têm alta resistência, alta resistência ao desgaste e boa tenacidade e são amplamente utilizados em cenários de transporte, como ferrovias de tronco e ferrovias de carga pesada.
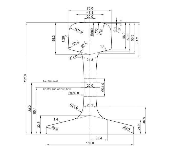
Os trilhos pesando 75 kg por metro são trilhos pesados, geralmente usados para linhas de tronco ferroviária, ferrovias pesadas ou trilhos especiais (como minas, portas etc.). A dureza e a resistência dos trilhos são melhoradas por meio de rolagem a quente, extinção e outros processos. Por exemplo, "trilhos de extinção completos" podem melhorar significativamente a resistência ao desgaste.

Desempenho -chave
● Força de tração: maior ou igual a 880 MPa (U71MN como exemplo), garantindo que ele possa suportar cargas de trem.
● Resistência ao desgaste: a dureza da superfície (como a dureza Brinell) pode atingir 280-350 hb, reduzindo o desgaste sobre rodas e faixas.
● Resistência à fadiga: adapte -se ao rolamento repetido de trens e reduza o risco de rachaduras na pista.
Especificações do produto

Aplicação do produto


Embalagem e entrega de produtos
Na embalagem do comércio exterior e no transporte de trilhos pesados de GB, a cinta de aço é a etapa mais básica e crítica. Todo grupo de {{0}} trilhos pesados é pré-fixado nas duas extremidades dos trilhos com fios de aço de espessura moderada para evitar deslocamento durante o transporte e depois com tiras de aço de 16-19 mm largura. A força de aperto das tiras de aço é controlada em 1200-1500 n para garantir que os trilhos não se soltem durante o carregamento, descarregamento e transporte. Após a conclusão do agrupamento, pulverize o óleo anti-rust imediatamente. Depois que o óleo anti-rust é totalmente penetrado e seco, todo o pacote de trilhos é firmemente embrulhado com um filme plástico de 0. 1-0. 15 mm de espessura para evitar umidade e poeira.


A Gnee Rail se concentra no fornecimento de soluções materiais completas para a construção internacional de trânsito ferroviário. Construímos um sistema industrial completo, desde a aquisição, produção e processamento de matérias -primas até distribuição global, e nossos produtos passaram várias certificações internacionais, como o ISO9001. Temos uma equipe de comércio internacional profissional que pode fornecer soluções de produtos personalizadas de acordo com os requisitos do projeto do cliente e confiar em uma rede de logística global para obter uma entrega eficiente. Com anos de experiência no setor, estabelecemos uma rede de serviços que cobrem os principais mercados e estamos comprometidos em fornecer aos clientes serviços de fornecimento de produtos fortes de ciclo completo e um dos produtos de fornecimento de produtos.







Tag: Aço ferroviário de 75 kg de tipo pesado, China de 75 kg de fabricantes de aço ferroviário pesado de 75 kg, fornecedores, fábrica






